或首秀iPhone 12,苹果新ToF专利披露更多技术细节,可提高人脸识别及AR体验
飞行时间(Time of Flight;TOF)3D成像是指:通过向目标连续发送光脉冲,然后用传感器接收返回的光线,最后再通过计算光脉冲的飞行(往返)时间来获取相关距离。
与立体摄像头或三角测量系统比,TOF摄像头体积小巧,非常适合于需要轻巧摄像头的用例,如智能手机或XR头显。另外,TOF摄像头能够实时快速地计算深度信息,而且不受对象表面灰度和特征影响,可以非常精确地进行三维探测。另外,TOF的深度计算精度不随距离变化而改变,而这对大范围运动的应用场合非常有意义。

日前,美国专利商标局公布了一份与基于飞行时间传感器的深度传感设想系统相关的苹果专利申请,而这项技术或会用于即将发布的iPhone 12。全新的ToF摄像头可以提高人脸识别率,以及AR体验等等。
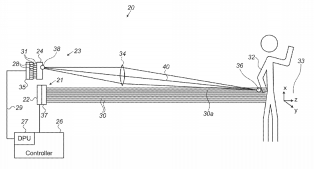
苹果指出,深度感测装置包括辐射源,所述辐射源包括布置在多个组中的第一发射极阵列,所述第一阵列配置成向目标场景发射第一多个脉冲光辐射光束。第二多个感测元件布置在第二阵列中,并且配置成输出指示光子在感测元件的入射次数的信号。
目标光学在传感元件阵列形成目标场景的图像。处理和控制电路交替地驱动多个组,并响应于输出信号识别将从目标场景的相应区域反射的光辐射脉冲入射到的第二阵列的区域。
在一些实施例中,处理和控制电路配置成将每个识别区域中的感测元件组合在一起以定义超像素,并且将来自每个超像素中的感测元件的信号一起处理,从而测量深度坐标。
需要说明的是,这项专利涉及大量的专业知识和行业术语。若对这个领域感兴趣,你可以查看具体的专利文件。
名为“Depth Sensing Using A Sparse Array Of Pulsed Beams”的专利申请最初在2019年2月提交,并在日前由美国专利商标局公布。
原文来自映维网:https://yivian.com/news/77029.html
